在雷电防护领域,可控放电避雷针作为一种新兴且高效的防雷装置,正逐渐受到全球范围内的广泛关注与应用。本文将从国际视角出发,探讨可控放电避雷针的工作原理、优势、应用实例以及未来发展趋势,主要引用国外的研究成果与实际应用案例。
可控放电避雷针的设计基于先进的雷电防护理念,其核心在于通过精密的结构设计,使动态环与主针分别通过非线性电阻和储能元件与地绝缘,保持针头电位处于浮动状态,从而实现电场的均匀分布。当雷云接近时,储能装置会感应雷云电场进行储能,一旦超过设定的临界值,储能装置便会向主针本体放电,导致主针电位瞬时改变。此时,动态环电位保持不变,主针针头电场发生瞬时畸变,诱发上行先导,有效拦截雷电下行先导,从而保护被保护物体免受雷击,并限制雷击电流的大小。
1. 扩大保护范围:相比传统的富兰克林避雷针,可控放电避雷针的保护范围更大,能够更有效地覆盖需要保护的区域。这一优势在国际多个防雷项目中得到了验证,显著提高了防雷效果。
2. 提高可靠性:通过主动干预雷电放电过程,可控放电避雷针显著提高了避雷的可靠性和稳定性。国外研究表明,其引发上行雷闪放电的形式,有效避免了猛烈下行雷闪放电带来的危害。
3. 降低绕击概率:可控放电避雷针的设计减少了雷电绕击被保护对象的可能性,进一步提升了防雷安全性。这一特点在雷电活动频繁的地区尤为重要。
4. 适应性强:无论是不同的地理环境还是复杂的气象条件,可控放电避雷针都能展现出良好的适应性。国外多个极端气候条件下的应用实例证明了其卓越的防雷性能。
5. 维护成本低:可控放电避雷针一般具有较长的使用寿命,且维护相对简单。这大大降低了防雷系统的长期运营成本,符合国际社会对节能减排、绿色发展的要求。
在国际上,可控放电避雷针已被广泛应用于多个领域。例如,在电力系统方面,高压变电站、输电线路等关键设施均采用了可控放电避雷针进行雷电防护;在军事系统方面,弹药仓库、军事通讯站等敏感区域也借助其强大的防雷能力确保安全;此外,在石油、化工、通讯等领域,可控放电避雷针同样发挥着不可替代的作用。
随着全球对防雷安全重视程度的不断提高,可控放电避雷针的市场需求将持续增长。未来,该技术有望在以下几个方面实现进一步发展:一是提高智能化水平,通过集成先进的传感器和控制系统,实现远程监控和自动调整;二是优化结构设计,进一步提升防雷效果和可靠性;三是拓展应用领域,满足更多行业对高效防雷解决方案的需求。
综上所述,可控放电避雷针作为国际防雷领域的一项创新技术,正以其独特的优势在全球范围内得到广泛应用。随着技术的不断进步和市场的持续拓展,相信可控放电避雷针将在未来防雷事业中发挥更加重要的作用。
■概述
可控放电避雷针是雷立行公司以激发小电流上行先导放电或上行雷闪的形式释放雷云电荷,避免强烈的下行雷闪放电危害为目的研制的产品,该产品非常适合高压输电线路的防雷,是一种有广泛应用前景的直击雷防护装置。
■保护原理
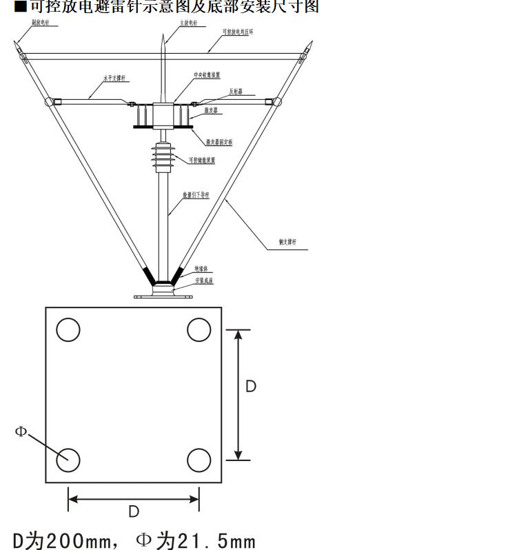
当可控放电避雷针安装处附近的地面电场强度较低时,雷云不会对避雷针保护区范围内的地面内的地面物体发生放电,此时可控放电避雷针针头(由主放电针、可控放电均压环、可控储能装置组成)的可控储能装置处于储存雷云电场能量工况,可控放电均压环和主放电针处于同等电位且为浮动状态,与周围大气电位差小,针尖头部的电场强度降低,因此几乎不发生电晕放电,即保证了空间电荷很少的要求。
当雷云上升到预定的值时,那时有可能发生对周围被保护物的雷闪,可控储能装置立即转入释能工况,这一转变使主放电针针尖的电位突然升高,使针尖附近空间电场瞬间上升数十甚至数百倍,导致空气迅速击穿,形成很强的放电脉冲,因没有空间电荷的阻碍,该放电脉冲在雷云电场作用下快速向上发展成上行先导,去拦截雷云底部先导或进入雷云电荷中心。
上行先导有两个优点:第一个优点是上行雷闪不仅雷击电流幅值小陡度低,而且由于地面上的雷击点早已确定,自雷云向下发展的放电就不会击到被保护的对象上;第二个优点是上行先导对地面物体具有屏蔽作用,可减轻放电时在地面物体上的静电感应过电压。
■电气参数
1、可控放电避雷针保护角65°,相应地面保护半径为2.14h,离地面高度hx处水平面保护半径为2.14(h-hx)。
2、接地要求:接地电阻≤10Ω(一般地区);接地电阻≤30Ω(在高阻区及无人区)。
3、抗风能力不低于风速50m/s。
■产品特点
● 主放电电流小,放电陡度低;
● 设计原理新颖,结构先进、性能可靠;
● 安装方便,使用期内免维护;
■适用范围
型号 | 规格 | 适用范围 | 使用期(年) | 底部尺寸(mm) |
LKX-L/KFZ | 3针、1120 | 10kV及以上变电站、发电厂、微波站(塔)、证券、气象、电视塔、油库、铁路等。 | 25 | 200 |
±800kV或者±500kV直流输电线路 | ||||
110kV及以上交流输电线路 |
说明:1、安装应牢固可靠;
2、接地电阻应符合相关标准要求;
3、每年检查一次连接是否可靠。
■安装说明
● 可控放电避雷针的安装高度应考虑向被保护物提供足够的保护范围,保护半径多针情况依照数学模型作图法计算。
● 可控放电避雷针针头要求可控放电均压环水平,主放电针在铅垂方向。不允许在避雷针及其支柱上悬挂电话线、广播线、电视天线及电力架空线等。
● 可控放电避雷针应设两根专用的接地引下线,对于有可以直接利用的金属作为引下线的可以不另设接地引下线。引下线一般采用圆钢或者扁钢,圆钢直接不小于10mm,扁钢不小于4×25mm。
● 宜安装我公司配套直击雷计数器,观测可控放电避雷针运行情况。
● 引下线沿建筑物外墙敷设,与附近的金属物应保持足够的距离,引下线应经最短路径接地,弯曲处不应出现直角或锐角(可做成钝角或圆弧)。

扫一扫咨询微信客服